電動O型切斷球閥產品概述
電動O型切斷球閥主要由浮動球或固定球O型切斷球閥和開關型電動執行器組成,其電裝接通電源后,內置電機接收信號啟動,通過蝸輪蝸桿減速機構輸出高扭矩,驅動閥桿帶動球體在閥體內旋轉90度來完成全開或全關動作,以實現管內介質的接通或切斷的遠控、自控或集控。該閥電動執行器可選用Z型多回轉型、Q型部分回轉型以及精小型等系列,它內置伺服系統,無須另配伺服放大器,接入單相220 VAC或三相380 VAC電源即可控制運轉,具有連線簡單、結構緊湊、動作穩定可靠等優點。本產品擁有關閉嚴密,流通能力大,零泄漏,使用時間長等特點,因此,特適用于高粘度、含纖維、顆粒狀介質的場合,可廣泛應用于石油、化工、冶金、輕工等工業自控領域對氣體、液體、固體等介質的控制。
電動O型切斷球閥部件材料
| 序號 | 部件名稱 | 材料名稱 | ||||
| 1 | 閥 體 | A216 WCB | A351 CF8 | A351 CF3 | A351 CF8M | A351 CF3M |
| 2 | 左 閥 體 | A216 WCB | A351 CF8 | A351 CF3 | A351 CF8M | A351 CF3M |
| 3 | 閥 座 | R-PTFE、PTFE、TEFLON、NYLON、PPL、PEEK、DEVLON、SS+HF | ||||
| 4 | 球 體 | A105+ENP | A182 F304 | A182 F304L | A182 F316 | A182 F316L |
| 5 | 閥 桿 | A182 F6a | A182 F304 | A182 F304L | A182 F316 | A182 F316L |
| 6 | 填料壓蓋 | A216 WCB | A351 CF8 | A351 CF3 | A351 CF8M | A351 CF3M |
| 7 | 填 料 | GRAPHITE、R-PTFE、PTFE、TEFLON、PCTFE | ||||
| 8 | 螺 栓 | A193 B7 | A193 B8 | A193 B8 | A193 B8M | A193 B8M |
| 9 | 螺 母 | A194 2H | A194 8 | A194 8 | A194 8M | A194 8M |
電動O型切斷球閥技術規范
| 公稱壓力Class | 150 | 300 | 600 | 900 | 1500 |
| 殼體試驗壓力(MPa) | 3.0 | 7.5 | 16.5 | 22.5 | 39.0 |
| 高壓液體密封試驗壓力(MPa) | 2.2 | 5.5 | 12.1 | 16.5 | 28.6 |
| 低壓氣體密封試驗壓力(MPa) | 0.6 | 0.6 | 0.6 | 0.6 | 0.6 |
| 設計制造 | API 6D-2014、API 608-2008、ASME B16.34-2013 | ||||
| 結構長度 | API 6D-2014、ASME B16.10-2017 | ||||
| 法蘭尺寸 | ASME B16.5-2017、ASME B16.47-2017、ANSI B16.5-2013等 | ||||
| 檢驗試驗 | API 6D-2014、API 598-2016 | ||||
| 控制方式 | 開關到位燈(開關兩位控制)、無源觸點信號 | ||||
| 電源電壓 | 單相220 VAC、三相380 VAC、遠程24 VDC (50Hz) | ||||
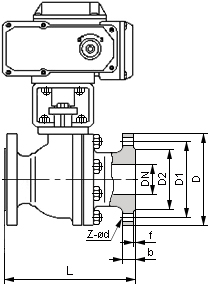
電動O型切斷球閥外型尺寸
| 公稱壓力 Class | 公稱尺寸 NPS | 外形及連接尺寸/mm | |||||
| L | D | D1 | D2 | b-f | Z-?d | ||
| 150 | ? | 108 | 90 | 60.3 | 34.9 | 9.6-1.6 | 4-16 |
| ? | 117 | 100 | 69.9 | 42.9 | 11.2-1.6 | 4-16 | |
| 1 | 127 | 110 | 79.4 | 50.8 | 12.7-1.6 | 4-16 | |
| 1 ? | 140 | 115 | 88.9 | 63.5 | 14.3-1.6 | 4-16 | |
| 1 ? | 165 | 125 | 98.4 | 73.0 | 15.9-1.6 | 4-16 | |
| 2 | 178 | 150 | 120.7 | 92.1 | 17.5-1.6 | 4-19 | |
| 2 ? | 190 | 180 | 139.7 | 104.8 | 20.7-1.6 | 4-19 | |
| 3 | 203 | 190 | 152.4 | 127.0 | 22.3-1.6 | 4-19 | |
| 4 | 229 | 230 | 190.5 | 157.2 | 22.3-1.6 | 8-19 | |
| 5 | 356 | 255 | 215.9 | 185.7 | 22.3-1.6 | 8-22.5 | |
| 6 | 394 | 280 | 241.3 | 215.9 | 23.9-1.6 | 8-22.5 | |
| 8 | 457 | 345 | 298.5 | 269.9 | 27.0-1.6 | 8-22.5 | |
| 10 | 533 | 405 | 362.0 | 323.8 | 28.6-1.6 | 12-25.5 | |
| 12 | 610 | 485 | 431.8 | 381.0 | 30.2-1.6 | 12-25.5 | |
| 表中為ASME B16.5標準Class150法蘭連接浮動球球閥尺寸,如需其他規格參數,請來電咨詢! | |||||||
電動O型切斷球閥結構圖

如果你需訂購我廠電動球閥產品,咨詢時煩請注明規格型號,如無法提,請說明公稱直徑、公稱壓力、閥體和內件材質、工作介質、使用溫度,電動執行器要求,本產品常規配置為普通開關型電裝。
網站首頁