直通平底籃式過濾器產品概述
SRBIF直通平底籃式過濾器是一種石油、化工行業常用粗過濾器,主要用以除去泵入口液體或氣體介質中所含的固體雜質,從而保障機泵正常運行的管道元件,其進出口接管分別焊接在筒體相同高度的左右兩側,而且筒體內焊裝有與水平方向成45°角的橢圓形濾網支撐座,頂部開口并設置有45°傾斜面的濾籃活動安裝在支撐座上,傾斜面正對進口端,從而將進、出料口隔開,使物料從進料口進入殼體后,必須經過絲網的過濾,才能從出料口流出。本產品設計和制造符合《石油化工泵用過濾器選用、檢驗及驗收規范》SH/T 3411-2017的規定,若將它設在離心泵、螺桿泵、齒輪泵、磁力泵、真空泵等泵前的入口管道上,能起到保護作用的目的。
直通平底籃式過濾器部件材料
| 序號 | 部件名稱 | 材料名稱 | |||||
| 1 | 筒 體 | 20# | 15CrMo | 304 | 304L | 316 | 316L |
| 2 | 接 管 | 20# | 15CrMo | 304 | 304L | 316 | 316L |
| 3 | 濾 籃 | 304 | 304 | 304 | 304L | 316 | 316L |
| 4 | 法 蘭 | 20# | 15CrMo | 304 | 304L | 316 | 316L |
| 5 | 墊 片 | 聚四氟乙烯、柔性石墨復合墊、金屬環形墊、金屬纏繞墊 | |||||
| 6 | 法 蘭 蓋 | 20# | 15CrMo | 304 | 304L | 316 | 316L |
| 7 | 底 板 | Q235B | 15CrMo | 304 | 304L | 316 | 316L |
| 8 | 螺 柱 | 35CrMoA | 25Cr2MoVA | 304 | 304 | 316 | 316 |
| 9 | 螺 母 | 30CrMo | 35CrMoA | 304 | 304 | 316 | 316 |
直通平底籃式過濾器技術規范
| 公稱壓力PN(MPa) | 1.0 | 1.6 | 2.5 | 4.0 | 2.0 | 5.0 |
| 殼體強度試驗壓力(MPa) | 1.5 | 2.4 | 3.75 | 6.0 | 3.0 | 7.5 |
| 密封性能試驗壓力(MPa) | 1.1 | 1.76 | 2.75 | 4.4 | 2.2 | 5.5 |
| 設計制造 | SH/T 3411-2017 石油化工泵用過濾器選用、檢驗及驗收規范 | |||||
| 法蘭標準 | GB/T 9115、GB/T 9119、HG/T 20592、HG/T 20615、SH/T 3406、ASME B16.5等 | |||||
| 檢驗驗收 | SH/T 3411-2017 石油化工泵用過濾器選用、檢驗及驗收規范 | |||||
| 濾網規格 | 2目 ~ 600目 | |||||
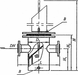
直通平底籃式過濾器主要尺寸
| 公稱壓力 PN | 公稱直徑 DN | 尺寸/mm | B (in) | ||||
| D1 | L | H1 | H2 | H | |||
| 10 | 25 | 89 | 220 | 160 | 260 | 480 | R? |
| 32 | 89 | 220 | 165 | 270 | 495 | R? | |
| 40 | 114 | 280 | 180 | 300 | 550 | R? | |
| 50 | 114 | 280 | 180 | 300 | 550 | R? | |
| 65 | 140 | 330 | 220 | 350 | 650 | R? | |
| 80 | 168 | 340 | 260 | 400 | 740 | R? | |
| 100 | 219 | 420 | 310 | 470 | 880 | R? | |
| 150 | 273 | 500 | 430 | 620 | 1175 | R? | |
| 200 | 325 | 560 | 530 | 780 | 1495 | R? | |
| 250 | 426 | 660 | 640 | 930 | 1810 | R? | |
| 300 | 478 | 750 | 840 | 1200 | 2310 | R? | |
| 表中未列出的其他規格尺寸,請咨詢汗越閥門技術部! | |||||||
直通平底籃式過濾器結構圖

如果你需訂購我廠籃式過濾器產品,咨詢時煩請說明公稱直徑、公稱壓力、殼體材料、濾芯材質、過濾介質、濾網規格、端部連接法蘭標準、是否配對法蘭、螺栓螺母及墊片等,我公司可按客戶需求承接定制。
網站首頁