全自動清洗Y型過濾器產品介紹
全自動清洗Y型過濾器是一種在殼體內裝置濾網和清洗刷組件,對工業用水中的雜質進行分離,并通過壓差、時間、手動等控制方式實現在線全自動刷洗濾網和排污,從而使水質得到凈化的濾水設備。其刷式構造主要由毛刷或不銹鋼刷、刷架以及轉動軸等組成,轉動軸一端穿過殼蓋與外裝減速電機相連,另一端與刷架焊裝在一起并置于不銹鋼濾網里面,當進出口的壓差到達設定值或預設清洗時間、手動預制時,電機驅動刷體轉動,從濾網上刷除雜質微粒并通過排污口排出。本產品刷洗過程中流體不中斷,不必停機和不拆卸過濾器部件就能清洗濾網,無需人員值守,特適用于24小時連續運行的不能停機系統。
全自動清洗Y型過濾器在不切斷管路的情況下清潔濾網,以避免在清洗濾芯時引起介質濺出、滲漏和斷流等現象,它有壓差、時間及手動三種自清洗控制方式,當其進出口差壓到達設定值或預設清洗時間時,電制箱發出信號驅動減速電機動作,同時排污閥自動打開,附著在濾網上的雜質顆粒被轉動的清洗刷刷下,并隨水流從排污口排出,當進出口壓差回到正常或到達定時器設定時間后,電機停止轉動,電動排污閥推遲關閉,整個過程中,水不斷流,實現了連續化、自動化生產。本產品除壓差和時間設定自動清洗過程外,還有手動啟動按鍵,供調試檢修時使用,也可通過遠程終端連接電控箱來實現遠程控制。
全自動清洗Y型過濾器部件材料
| 序號 | 部件名稱 | 材料名稱 | |||||
| 1 | 殼 體 | Q235B | 20# | 304 | 304L | 316 | 316L |
| 2 | 法 蘭 | Q235B | Q235B | 304 | 304L | 316 | 316L |
| 3 | 濾 筒 | 304 | 304 | 304 | 304L | 316 | 316L |
| 4 | 濾 網 | 304 | 304 | 304 | 304L | 316 | 316L |
| 5 | 密 封 件 | NBR、EPDM、PKM、PTFE、GRAPHITE | |||||
| 6 | 殼 蓋 | Q235B | Q235B | 304 | 304L | 316 | 316L |
| 7 | 減速電機 | 組合件 | 組合件 | 組合件 | 組合件 | 組合件 | 組合件 |
| 8 | 轉 動 軸 | Q235B | Q235B | 304 | 304L | 316 | 316L |
| 9 | 清 洗 刷 | 硬質塑料纖維、豬鬃毛、骨質尼龍、不銹鋼 | |||||
| 10 | 排 污 閥 | CF8 | CF8 | CF8 | CF3 | CF8M | CF3M |
| 11 | 壓差開關 | 組合件 | 組合件 | 組合件 | 組合件 | 組合件 | 組合件 |
| 12 | 螺 栓 | 35CrMo | 35CrMo | 304 | 304 | 316 | 316 |
| 13 | 螺 母 | 35CrMo | 35CrMo | 304 | 304 | 316 | 316 |
全自動清洗Y型過濾器技術規范
| 公稱壓力PN(MPa) | 0.25 | 0.6 | 1.0 | 1.6 | 2.5 | 2.0 |
| 殼體強度試驗壓力(MPa) | 0.375 | 0.9 | 1.5 | 2.4 | 3.75 | 3.0 |
| 密封性能試驗壓力(MPa) | 0.275 | 0.66 | 1.1 | 1.76 | 2.75 | 2.2 |
| 自清洗控制方式 | 可選用壓差、時間及手動三種控制方式 | |||||
| 設計制造 | HG/T 21637-2021、GB/T 14382-2008、SH/T 3411-2017 | |||||
| 連接法蘭 | JB/T 81、GB/T 9119、HG/T 20592、HG/T 20615、SH/T 3406、ASME B16.5等 | |||||
| 檢驗試驗 | HG/T 21637-2021、GB/T 14382-2008、SH/T 3411-2017 | |||||
| 過濾精度 | 0.02mm ~ 16.0mm | |||||
| 清洗時間 | 10S ~ 60S | |||||
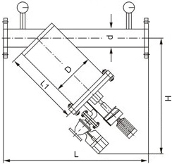
全自動清洗Y型過濾器主要尺寸
| 公稱壓力 PN | 公稱通徑 DN | 結構尺寸/mm | 排污口 B | ||||
| L | L1 | D | d | H | |||
| 10 ~ 25 20 (Class150) | 40 | 520 | 330 | 159 | 45 | ≈560 | Rc ? |
| 50 | 520 | 330 | 159 | 57 | ≈560 | Rc ? | |
| 65 | 520 | 330 | 159 | 76 | ≈560 | Rc ? | |
| 80 | 550 | 350 | 159 | 89 | ≈580 | Rc ? | |
| 100 | 670 | 400 | 219 | 108 | ≈670 | Rc ? | |
| 125 | 690 | 420 | 219 | 133 | ≈680 | Rc 1 | |
| 150 | 800 | 450 | 273 | 159 | ≈720 | Rc 1 ? | |
| 200 | 900 | 500 | 325 | 219 | ≈850 | Rc 1 ? | |
| 250 | 1200 | 580 | 426 | 273 | ≈1050 | Rc 1 ? | |
| 300 | 1300 | 680 | 426 | 325 | ≈1100 | Rc 1 ? | |
| 350 | 1530 | 740 | 478 | 377 | ≈1420 | Rc 2 | |
| 表中未列出規格及參數,請咨詢汗越閥門技術部! | |||||||
全自動清洗Y型過濾器結構圖

如果你需訂購我廠Y型過濾器產品,咨詢時煩請提供型號數據,公稱通徑、公稱壓力、殼體材料和濾網材質及過濾精度等,本過濾設備可以根據用戶不同需求,提供不同配置。
網站首頁