QZF-89全天候防火呼吸閥產品概述
QZF-89全天候防火呼吸閥是一種主要安裝在常壓(包括微內壓)石油儲罐頂部的安全裝置,起減少油品蒸發損耗,控制儲罐壓力及阻止外界火焰傳入的作用,可與液壓安全閥配套使用。該閥具有通風量大,泄漏量小,耐腐蝕等特點,并有靜電接地線,使該閥與罐體保持等電位。該閥具有防凍性能,適用于寒冷地區。
QZF-89全天候防爆防火呼吸閥在因天氣潮濕風沙情況下,溫度達到零度范圍內,儲罐不可發油使用,如急需生產時必須先打開量油孔其它之類的供氣產品,以保持儲罐安全作用,本產品應三個月定期進行檢查和保養。
QZF-89全天候防火呼吸閥性能規范
序號 | 部件名稱 | 材料名稱 | ||||
1 | 閥 體 | WCB | CF8 | CF3 | CF8M | CF3M |
2 | 側 蓋 | WCB | CF8 | CF3 | CF8M | CF3M |
3 | 防 雨 蓋 | Q235B | 304 | 304 | 316L | 316L |
4 | 導 桿 | 304 | 304 | 304L | 316 | 316L |
5 | 閥 座 | 304 | 304 | 304L | 316 | 316L |
6 | 閥 盤 | 304 | 304 | 304L | 316 | 316L |
7 | 阻 火 層 | 304 | 304 | 304L | 316 | 316L |
8 | 密 封 件 | PTFE | PTFE | PTFE | PTFE | PTFE |
QZF-89全天候防火呼吸閥部件材料
呼吸閥開啟壓力等級代號 | A | B | C | D | E |
呼吸閥開啟壓力ps(Pa) | +355,-295 | +665,-295 | +980,-295 | +1375,-295 | +1765,-295 |
設計制造 | SY/T 0511.1-2010 石油儲罐附件 第1部分:呼吸閥 | ||||
法蘭標準 | JB/T 79、GB/T 9113、HG/T 20592、HG/T 20615、SH/T 3406、ASME B16.5等 | ||||
檢驗試驗 | SY/T 0511.1-2010 石油儲罐附件 第1部分:呼吸閥 | ||||
操作溫度 | -30℃ ~ 60℃ | ||||
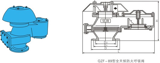
QZF-89全天候防火呼吸閥外型尺寸
公稱壓力 PN(MPa) | 公稱通徑 DN(mm) | 尺寸(mm) | ||||||
L | H | D | D1 | D2 | C-f | n-d | ||
0.6 | 50 | 362 | 360 | 140 | 110 | 90 | 14-2 | 4-?14 |
80 | 513 | 445 | 190 | 150 | 128 | 16-2 | 4-?18 | |
100 | 513 | 445 | 210 | 170 | 148 | 16-2 | 4-?18 | |
150 | 640 | 610 | 265 | 225 | 202 | 18-2 | 8-?18 | |
200 | 770 | 700 | 320 | 280 | 258 | 20-2 | 8-?18 | |
250 | 918 | 828 | 375 | 335 | 312 | 22-2 | 12-?18 | |
注:以上為HG/T 20592-2009標準PN6整體鋼制管法蘭尺寸。 | ||||||||
QZF-89全天候防火呼吸閥結構圖

如果你需訂購我廠呼吸閥產品,咨詢時煩請說明產品名稱與型號、公稱直徑、公稱壓力、開啟壓力、通氣量、閥體和內件材質、使用介質、操作溫度、法蘭標準等,以便我們為您正確選型報價,如有技術要求時請在訂購合同中注明,若已經由設計單位選定的型號,請按型號直接向我司銷售部訂購,當使用的場合非常重要或環境比較復雜時,請您盡量提供設計圖。
網站首頁